
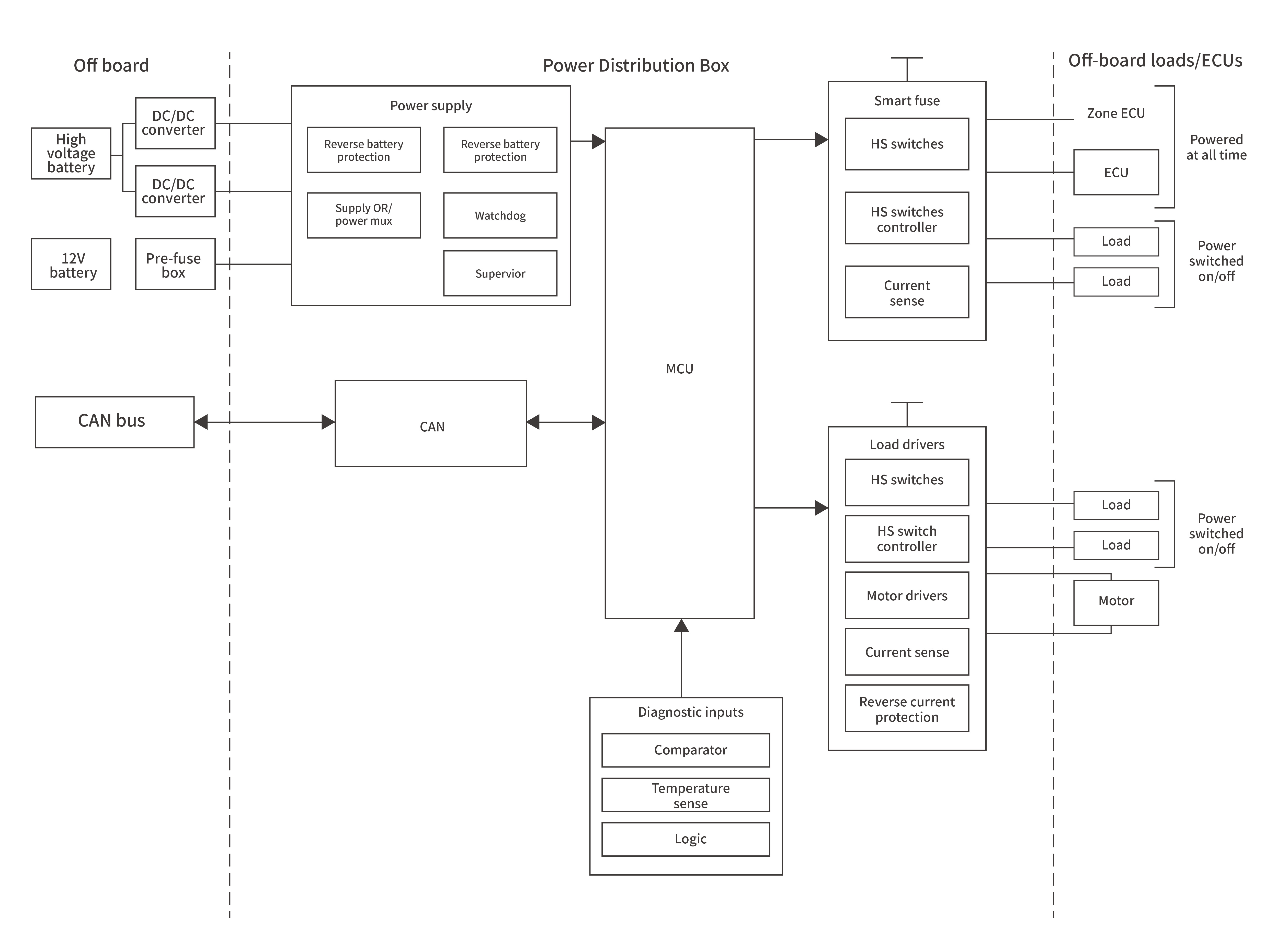
The 12V/48V power distribution box acts as the central “traffic commander” for dual-voltage automotive power systems, managing energy flow between 12 V accessories and 48 V high-efficiency subsystems. In load switching, unstable grid connections, and harness coupling environments, voltage surges, electrostatic discharge (ESD) and electromagnetic interference (EMI) can disrupt distribution stability, degrade control signals, and cause system malfunctions. YINT Electronics’ protection architecture integrates high-power TVS transient suppressors, GDT surge arresters, ESD protection arrays for multi-line interfaces, common-mode chokes for conducted noise suppression, and zener diodes for rail voltage stabilization — ensuring robust power distribution, lower EMI noise floor, and enhanced system reliability in harsh automotive environments.