
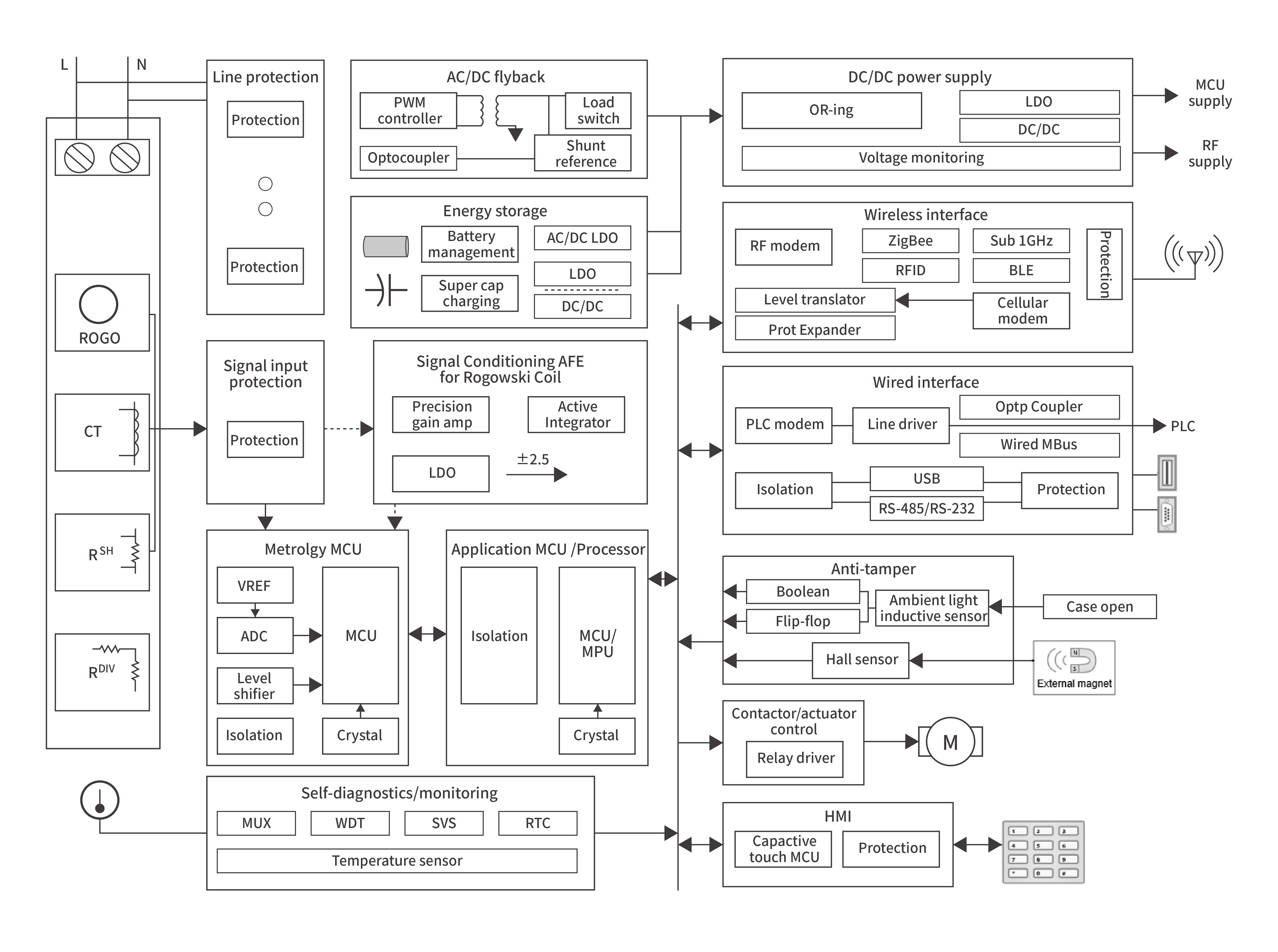
Smart electricity meters are deployed in harsh power environments where grid voltage fluctuations, inductive switching surges and electrostatic discharge (ESD) can compromise the precision metering front end and degrade signal integrity. To ensure accurate billing, long-term stability and reliable IoT connectivity, YINT Electronics’ electricity meter protection solution integrates MOV surge protectors to absorb high-energy mains transients, TVS transient suppressors to clamp fast voltage spikes and ESD protection diodes to safeguard sensitive signal paths. These multi-layered protections minimize electrical noise, maintain low leakage currents and deliver robust performance for advanced smart metering and utility systems.