
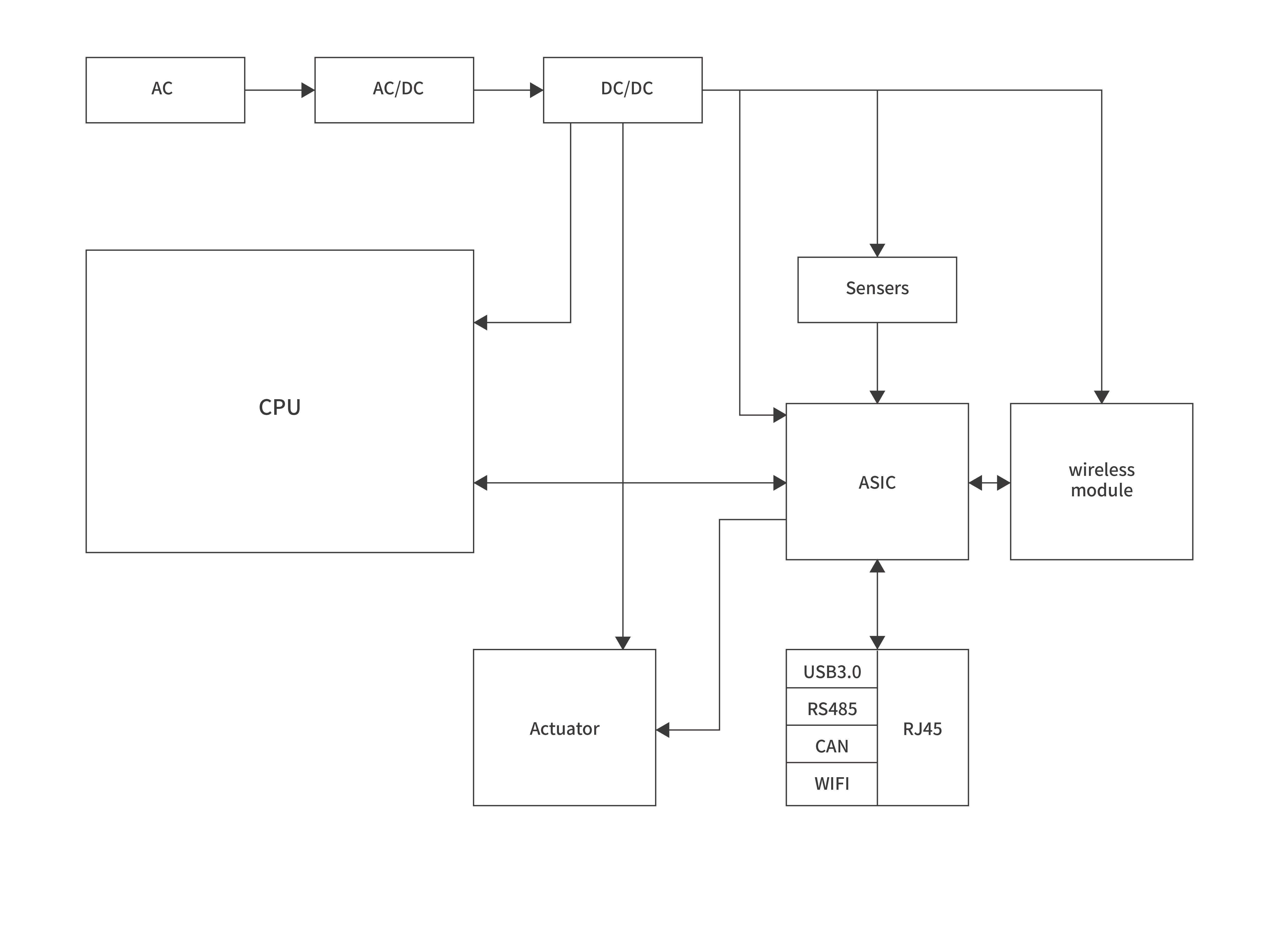
Industrial controller I/O systems interface with a wide range of field sensors, actuators, and communication modules in automation environments that often experience frequent inductive load switching, ground loops from long wiring, electrostatic discharge at connectors, and conducted electromagnetic interference (EMI) from motors and drives. YINT Electronics’ protection architecture integrates gas discharge tubes (GDTs) and MOV surge protectors for high-energy transient suppression, TVS transient suppressors for fast voltage clamp, ultra-low capacitance ESD protection arrays for sensitive signal lines, and EMI chokes to reduce conducted noise on harnesses. This multi-layered protection strategy enhances reliability, data integrity and long-term stability in industrial control applications where uptime and precision are paramount.