
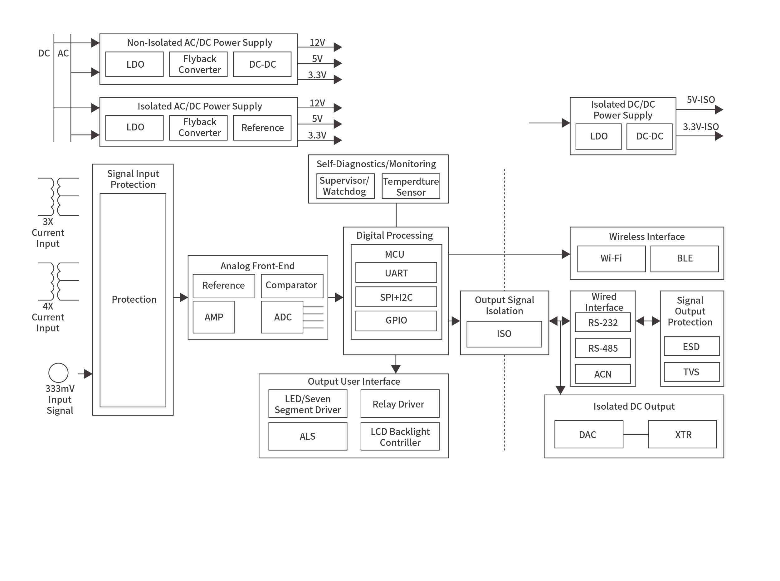
Grid asset monitoring systems integrate distributed power quality meters, sensor networks and communication interfaces to provide real-time assessment of electrical infrastructure health. In modern smart grid deployments, these monitoring nodes are exposed to electrical surge transients caused by lightning and switching events, electrostatic discharge from field operations, and electromagnetic noise from adjacent power electronics and distribution switching loads. Without coordinated transient suppression and electromagnetic compatibility (EMC) measures, these disturbances can degrade measurement accuracy, disrupt communication links and reduce overall system reliability.
YINT Electronics’ grid asset monitoring protection solution applies a multi-layer transient suppression architecture combining high-energy surge absorbers such as gas discharge tubes (GDTs) and metal-oxide varistors (MOVs) at power entry points, ultra-fast transient voltage suppressors (TVS) for low-energy line protection, and low-capacitance ESD arrays for sensitive signal and communication circuits. Together with EMC-oriented filtering components, this approach enhances immunity to transient events, preserves signal integrity, improves data fidelity and ensures stable operation of grid monitoring equipment in complex electrical environments.