
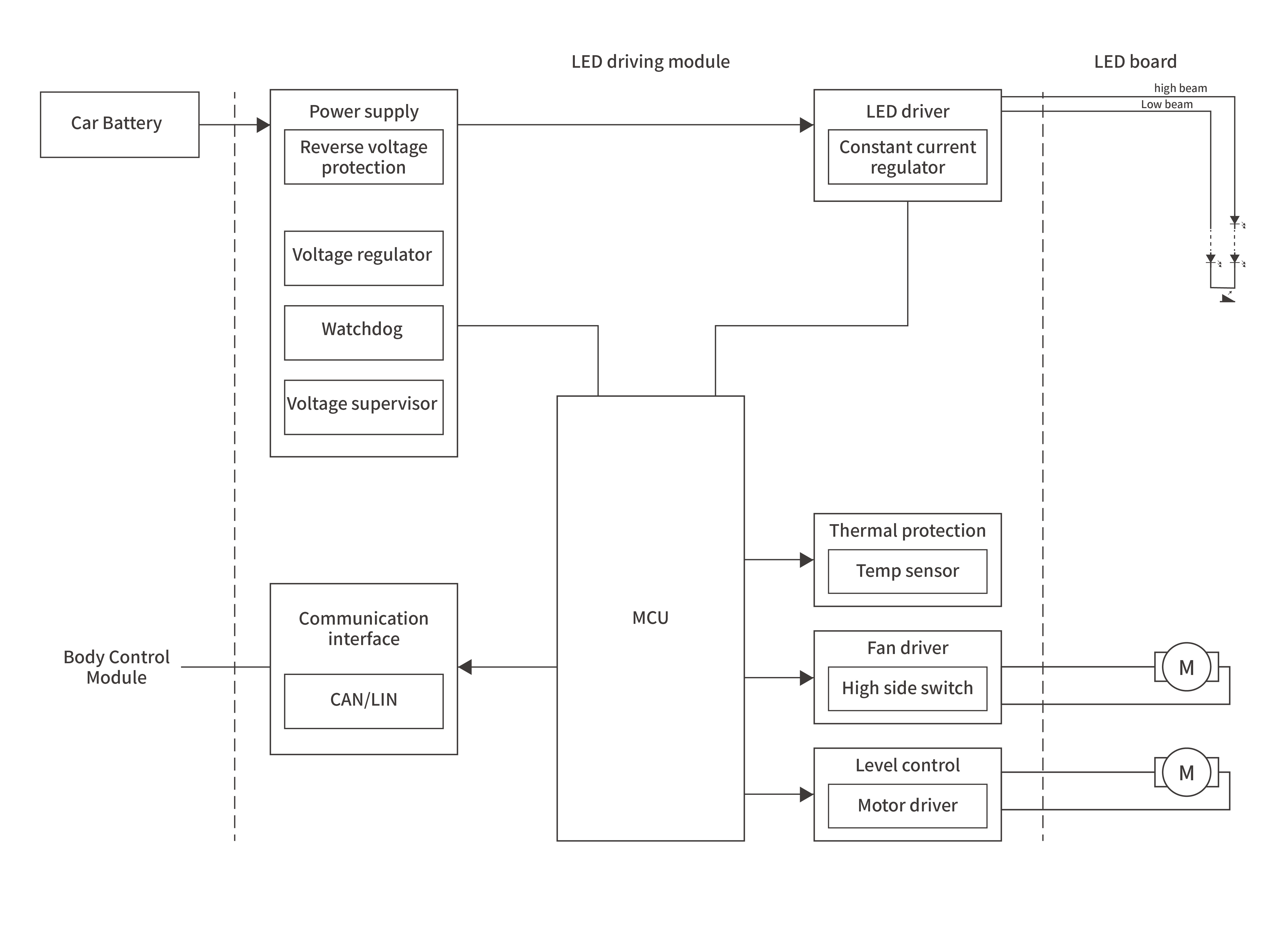
High/Low beam (HB/LB) LED driver modules are core components of automotive lighting safety, providing stable illumination across road conditions. These modules face electrical stresses including transient surges from load switching, overvoltage from supply fluctuations, electrostatic discharge (ESD) at connector interfaces, and conducted electromagnetic interference (EMI) along harnesses and control lines. YINT Electronics’ protection solution integrates high-power TVS transient suppressors, ultra-low capacitance ESD protection arrays and zener diodes for voltage regulation and clamping, ensuring load transient absorption, overvoltage protection and noise suppression for reliable, bright and stable headlight operation.