
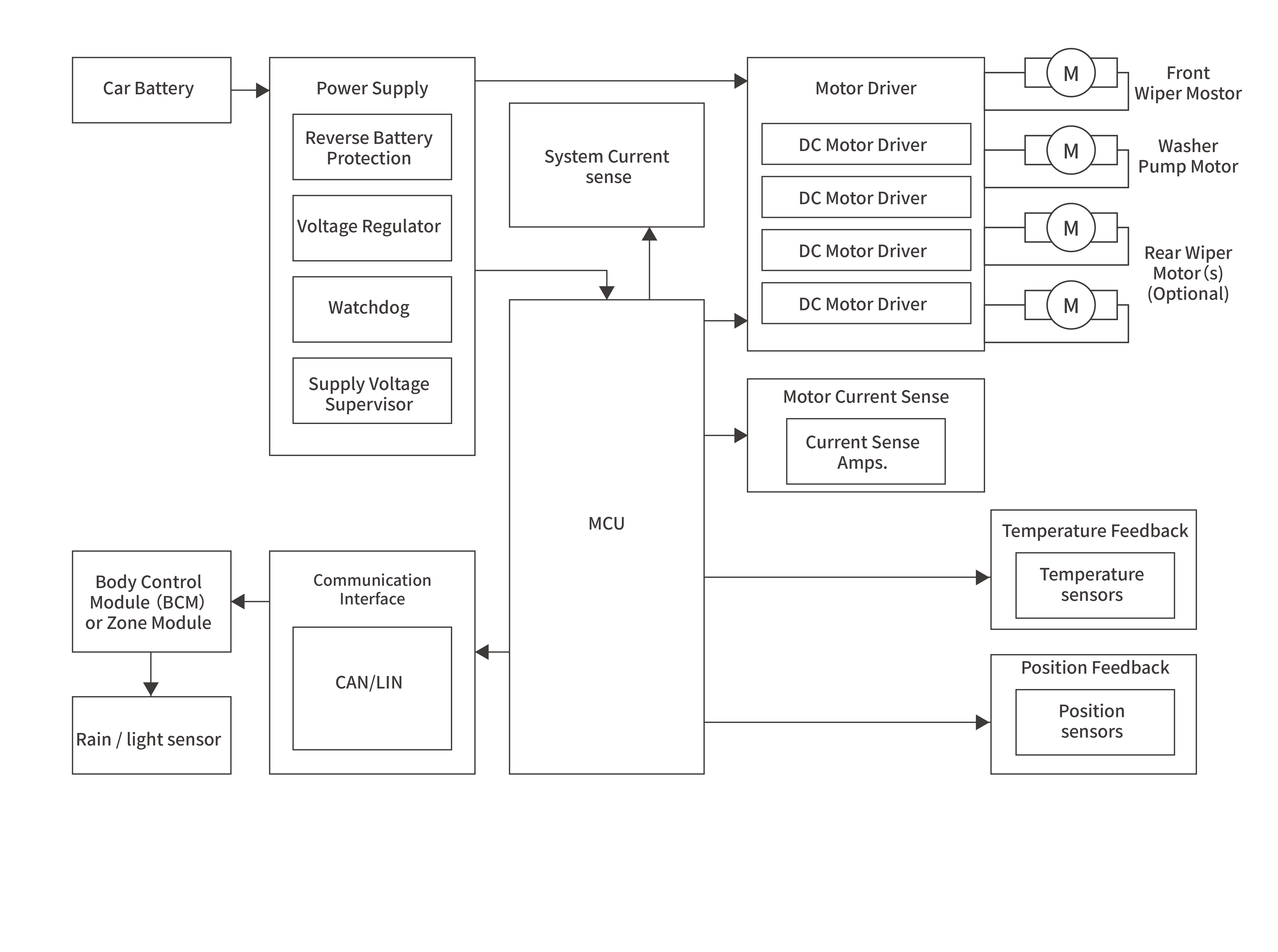
Automotive wiper modules integrate motor control, feedback sensors and harness interfaces in body electronics systems that are exposed to high electrical stress from load switching, inductive motor currents, transient surges and electrostatic discharge (ESD). In addition, conducted and radiated electromagnetic interference (EMI) from adjacent subsystems can disrupt control logic and degrade wiping performance. YINT Electronics’ protection solution employs high-power TVS transient suppressors to clamp voltage spikes at the supply interface, ESD protection arrays for safeguarding communication and control lines, and EMI filters such as common-mode chokes to suppress conducted noise on harnesses. These multi-layer protections help ensure reliable wiping performance and long-term durability in harsh automotive electrical environments.