
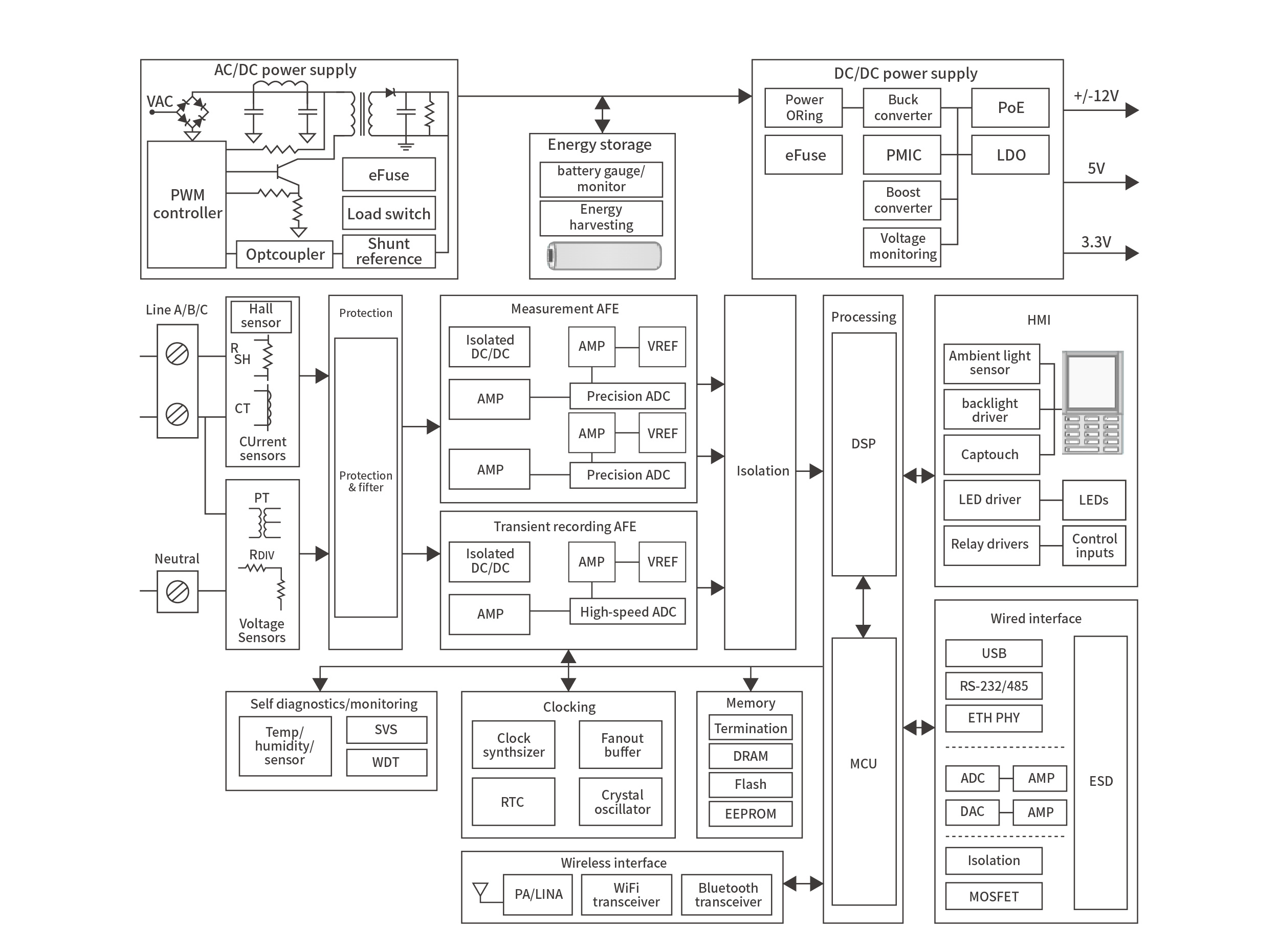
Power quality analyzers are critical devices used in electrical distribution and industrial systems to monitor voltage, current and power characteristics, enabling the diagnosis of power disturbances and improving operational efficiency. In real-world environments, these sensitive measurement instruments are exposed to surge transients caused by lightning and switching events, electrostatic discharge (ESD) during installation and maintenance, and electromagnetic interference (EMI) from surrounding power electronics and switching loads. Without coordinated transient suppression and EMC measures, these disturbances can corrupt measurement accuracy, disrupt communication interfaces and shorten device lifespan.
YINT Electronics’ power quality analyzer protection solution integrates multi-layer transient protection using high-energy surge absorbers such as MOVs and gas discharge tubes (GDTs), ultra-fast transient voltage suppressors (TVS), low-noise ESD protection diodes and thermal management components like NTC thermistors. Coupled with EMC-oriented design practices, this protection architecture enhances immunity to overvoltage and noise, preserves signal fidelity, improves measurement stability and ensures reliable long-term operation of power quality analyzers in complex electrical environments.