
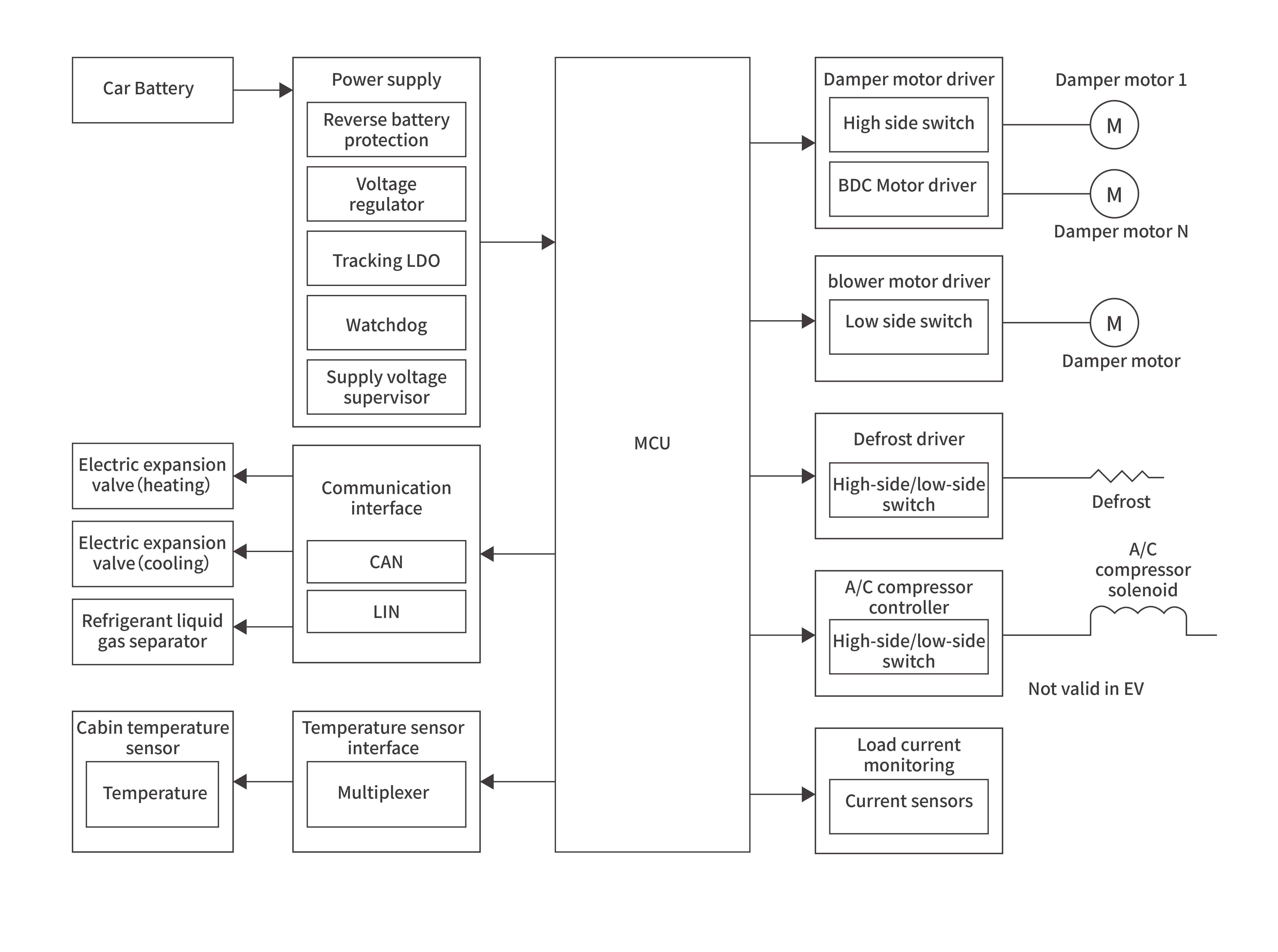
Electric vehicle heat pump modules play a critical role in thermal management by enabling efficient heating, cooling and energy recovery under varying environmental conditions. These high-power modules are prone to transient surges, electrostatic discharge and electrical noise due to load switching, harness coupling and high-voltage cycling. YINT Electronics’ protection solution integrates high-power TVS transient suppressors to clamp overvoltage events, ultra-low capacitance ESD protection arrays for interfacing and data line safeguarding, zener diodes for rail clamping and stabilization, and Schottky diodes for reverse current mitigation. This comprehensive multi-layer protection ensures stable power conversion, reduced control logic errors, and robust long-term operation in harsh thermal cycling environments inherent to EV heat pump systems.