
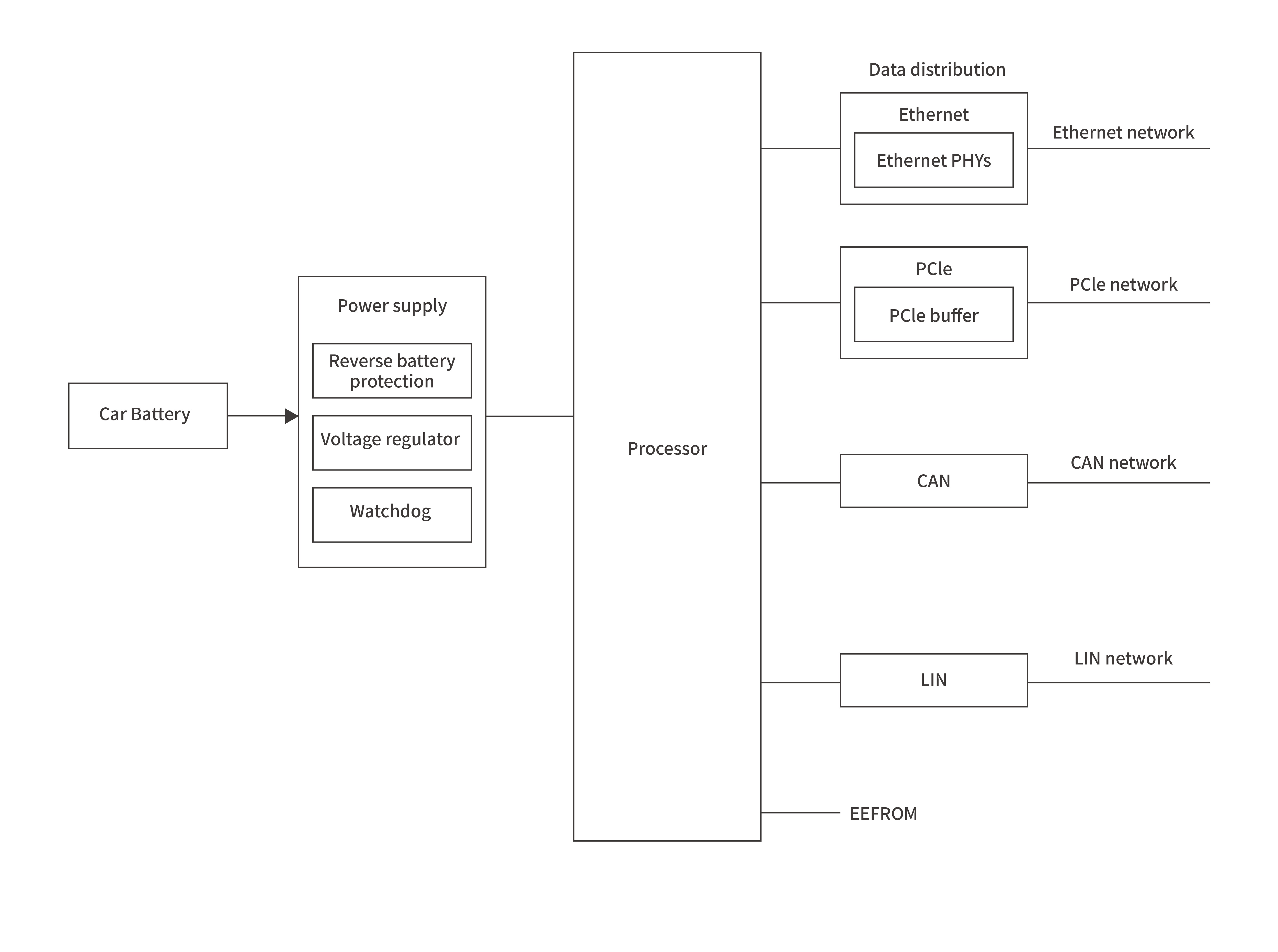
Automotive communication modules such as CAN and FlexRay transceivers operate in electrically harsh environments with frequent load switching, inductive motor noise, and long wiring harnesses. These conditions generate transient surges, electrostatic discharge (ESD) events and conducted electromagnetic interference (EMI) that can corrupt high-speed data, reset controllers, or degrade system reliability. YINT Electronics’ protection solutions integrate high-power TVS transient suppressors to clamp overvoltage transients, ultra-low capacitance ESD arrays to protect sensitive communication lines, and EMI filtering components (such as common-mode chokes) to reduce noise in differential and common-mode paths, ensuring robust, high-integrity communication in CAN/FlexRay networks.