
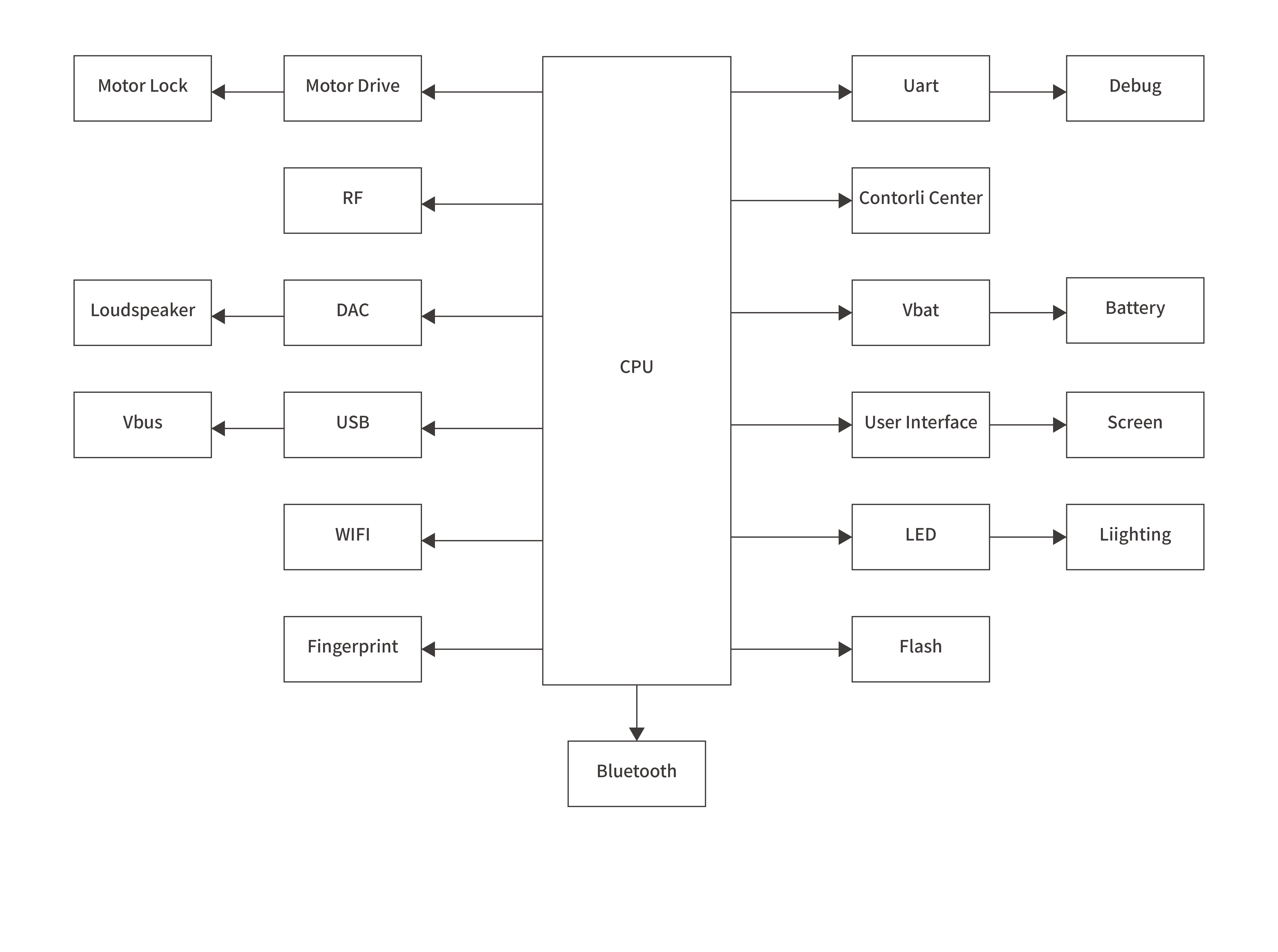
Smart locks are the first line of defense for modern home security, integrating biometric sensors, touch panels and motorized actuation mechanisms that operate in a variety of complex external environments. These systems are frequently exposed to electrostatic discharge (ESD) from human contact, transient voltage surges caused by clutch motor movements and external electromagnetic noise. Without effective transient suppression and ESD mitigation, sensitive electronics such as fingerprint sensors, microcontrollers and communication interfaces can malfunction, leading to inaccurate readings or device failures.
YINT Electronics’ smart lock protection solution combines industrial-grade ESD protection components and high-efficiency surge suppression devices to provide robust defense against these threats. Using ultra-low capacitance ESD diodes, transient voltage suppressors (TVS) and tailored surge absorbers, the solution maintains extremely low power standby consumption (nA level) while effectively isolating external electrical noise and safeguarding key functional blocks. This ensures accurate biometric recognition, smooth mechanical movement and reliable all-weather performance for smart security systems.