
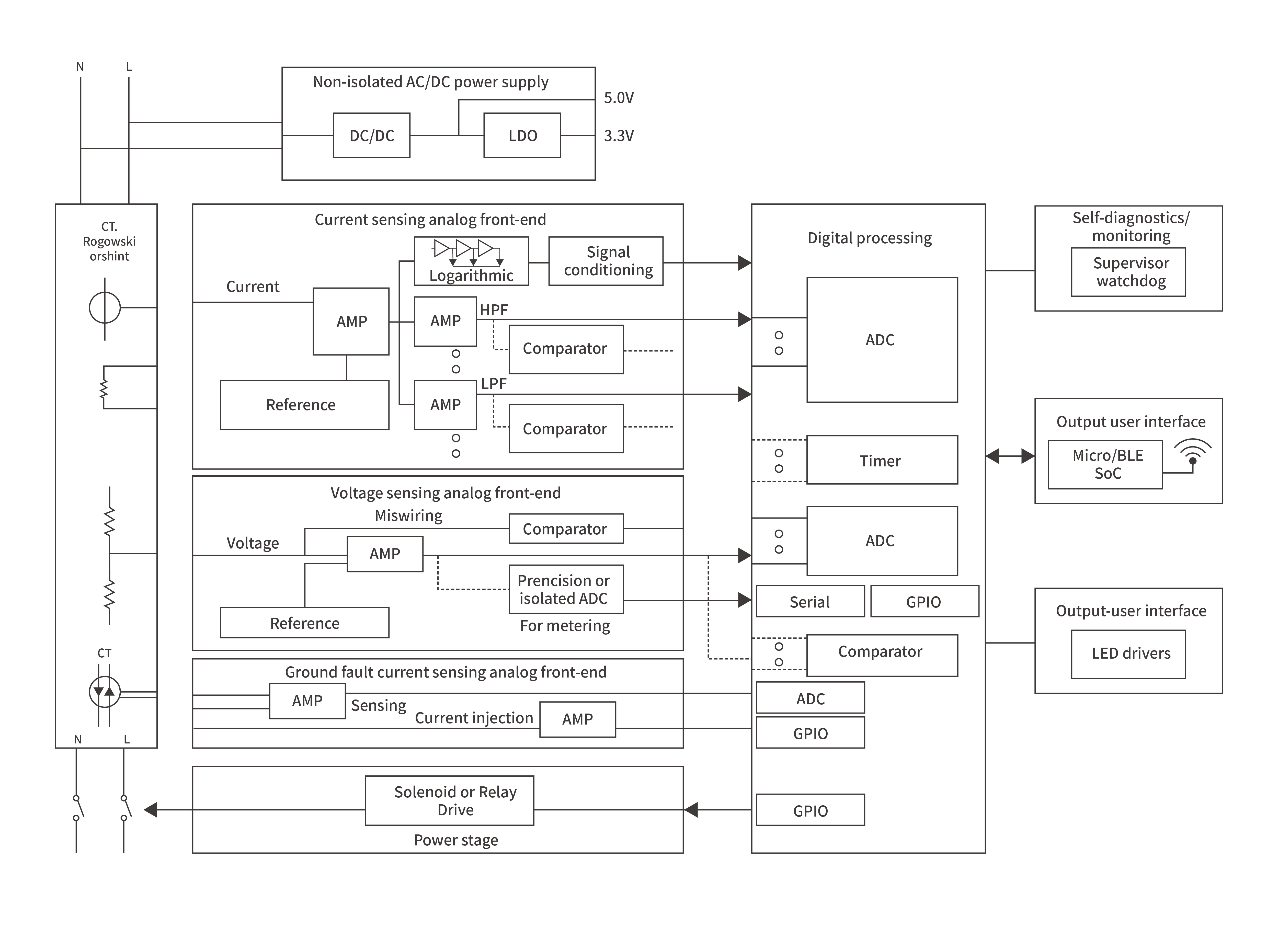
Dual Function Circuit Interrupters (DFCIs) integrate both arc fault detection (AFCI) and ground fault/leakage current interruption (GFCI/RCD) into a single protective device to improve electrical safety in modern power distribution systems. Unlike single-function breakers, DFCIs must accurately distinguish between dangerous arc faults and leakage conditions while withstanding high-energy surge transients, electrostatic discharge (ESD) and electromagnetic interference that can distort detection circuits. Without coordinated transient suppression, overvoltage stress or noise can lead to nuisance tripping, faulty detection logic or device failure.
YINT Electronics’ DFCI circuit breaker protection solution uses a multi-layer transient suppression and signal immunity architecture. High-energy surge absorbers such as gas discharge tubes (GDTs) and metal-oxide varistors (MOVs) handle bulk transient suppression on power input, while ultra-fast transient voltage suppressors (TVS) and low-capacitance ESD protection arrays protect sensitive detection and control lines. This coordinated approach enhances both arc fault and ground fault immunity, preserves the integrity of dual-function sensing circuitry and supports reliable, long-term operation in complex electrical environments.