
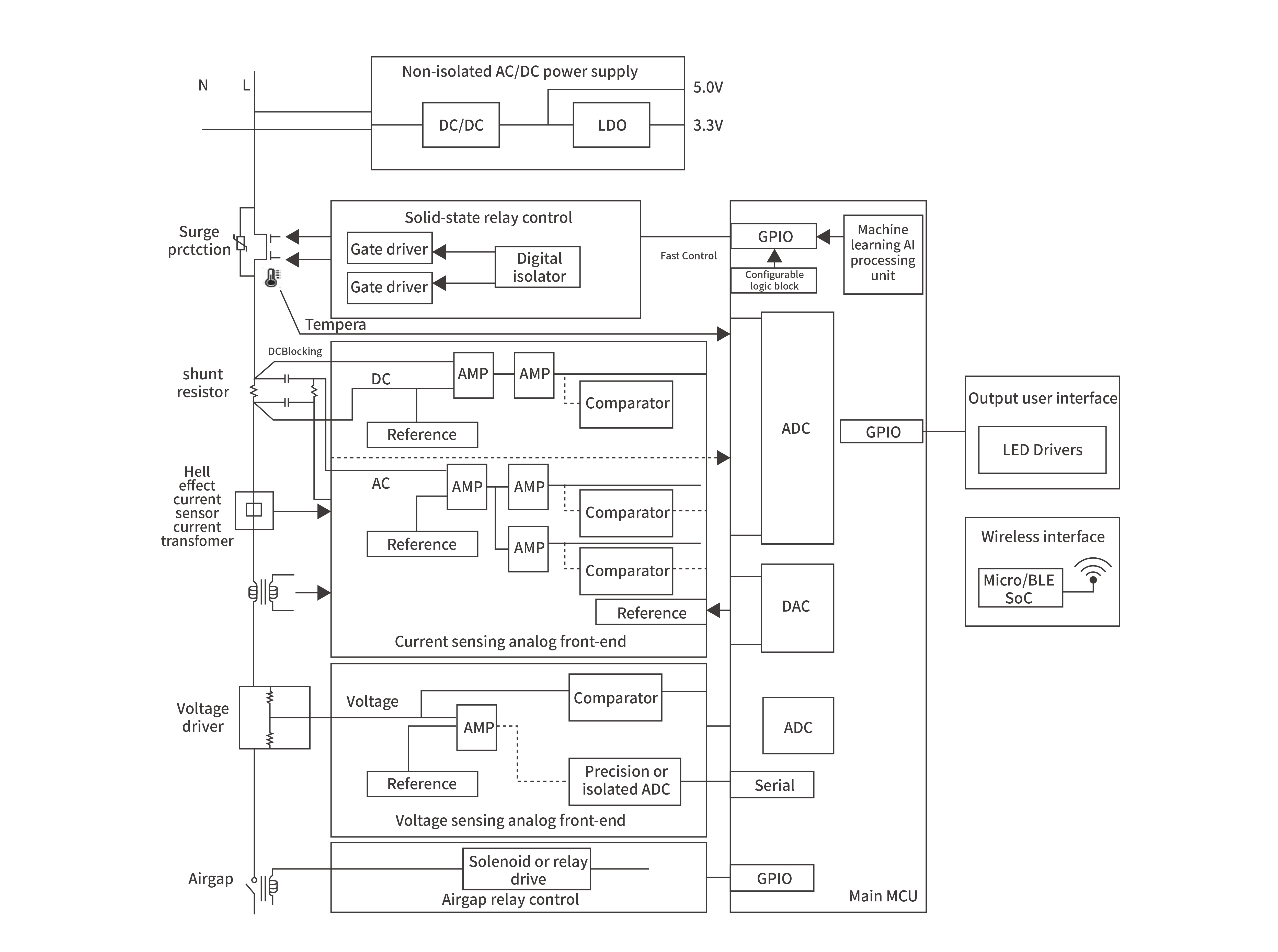
Solid state circuit breakers (SSCBs) utilize power semiconductor devices to achieve contactless switching and offer microsecond-level turn-off speeds compared to traditional mechanical breakers. In real-world power protection applications, these highly integrated electronic modules must withstand fast transient overvoltages, inductive load energy during switching events, and thermal stress in high-current environments. Without coordinated transient suppression and thermal management, critical components such as SiC and IGBT power modules can experience excessive voltage spikes, energy reflections and localized heating, leading to premature failures and reduced system reliability.
YINT Electronics’ SSCB protection solution applies ultra-fast overvoltage clamping devices such as TVS diodes, high-energy surge absorbers including MOVs and gas discharge tubes, along with refined thermal transient management components like NTC thermistors. By integrating this multi-layer protection strategy, the SSCB platform achieves robust transient immunity, minimized energy stress on semiconductor switches, zero arcing operation, and extended lifespan, supporting modern power protection designs in industrial, energy and advanced automation systems.