
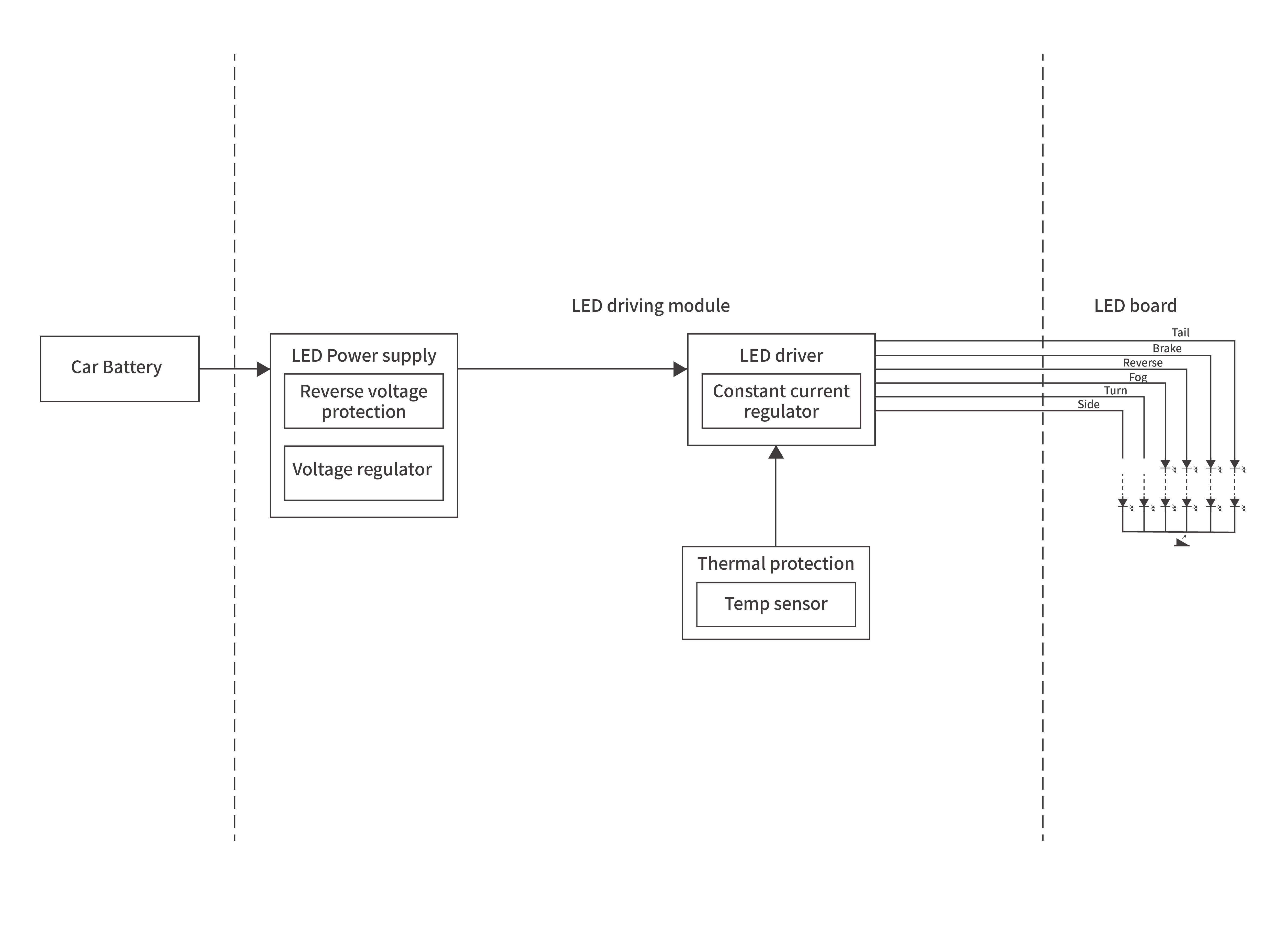
Automotive exterior lighting systems – including tail lights, brake lamps, and side indicator lamps – are exposed to a wide range of electrical disturbances from transient surges due to load switching, electrostatic discharge (ESD) during servicing or assembly, and conducted electromagnetic interference (EMI) from other powertrain and body electronics. These disturbances can cause flickering, premature LED failure or control logic resets. YINT Electronics’ automotive lighting protection solutions integrate high-power TVS transient suppressors for overvoltage clamping, ultra-low capacitance ESD protection diodes for interface safeguarding, and EMI filtering components such as common-mode chokes to suppress conducted noise, ensuring stable illumination, reduced field failures and extended lighting system life in harsh vehicle electrical environments.